中证网
返回首页

华为,新动作

张兴旺 中证金牛座

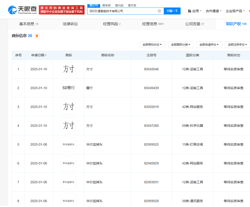
天眼查显示,近日,深圳引望智能技术有限公司申请注册“5D蟹行”“华尔兹掉头”商标,国际分类为运输工具、网站服务、通讯服务、灯具空调等,当前商标状态均为等待实质审查。

图片

来源:天眼查截图

深圳引望智能技术有限公司成立于2024年1月,法定代表人为郑丽英,注册资本10亿元人民币,经营范围包括智能车载设备制造、智能车载设备销售、汽车零部件研发、汽车零部件及配件制造、人工智能理论与算法软件开发等,彼时,深圳引望智能技术有限公司由华为技术有限公司全资持股。2024年,阿维塔、赛力斯分别入股深圳引望智能技术有限公司。

2024年4月,华为发布XMOTION 2.0车身运动系统控制,该系统包括华尔兹掉头、蟹行泊车等功能。华为称,全新升级的XMOTION 2.0车身运动协同控制系统,通过支持6D车辆运动控制算法,实现了驾驶性能的显著提升。

5D蟹行已在尊界S800上应用。1月底,尊界S800途灵龙行平台5D蟹行视频曝光。视频中,尊界S800利用后轮转向、三电机协同控制,在两列车辆间灵活穿行,实现横移场景下的目标最优控制。得益于该平台强大的多维协同能力,尊界S800可实现行业最大蟹行角度——16°,可以在窄路、窄车位等极限场景灵活穿行。

图片

来源:海报截图

华为与江淮联合打造的尊界S800首发华为途灵龙行平台。历经五年打磨,实现智能驾驶、智能座舱和智能域控的“三智”融合,为尊界S800提供了顶尖的操控实力。

华为的智能化技术成为汽车厂家的“心头好”。2024年华为与东风旗下猛士和岚图,以及比亚迪方程豹、广汽集团、阿维塔等签约。2025年1月,东风旗下主流科技电动品牌东风奕派与华为在深圳签署智能汽车战略合作协议。

截至目前,与华为采用鸿蒙智行模式合作的四家车企分别为赛力斯、奇瑞、北汽、江汽,分别推出问界、智界、享界、尊界四个系列。

展望2025年,“四界”计划推出多款新车型,将在2025年挑战交付100万辆的新高度。

东方证券称,华为合作朋友圈不断扩大,鸿蒙智行“四界”布局完成,尊界S800等多款华为合作车型将于2025年上市,预计进入华为相关车企配套体系的零部件公司将有望持续获取新订单,迎来新增长曲线。

中证网声明:凡本网注明“来源:中国证券报·中证网”的所有作品,版权均属于中国证券报、中证网。中国证券报·中证网与作品作者联合声明,任何组织未经中国证券报、中证网以及作者书面授权不得转载、摘编或利用其它方式使用上述作品。
中证金牛座
更多精彩内容,请打开APP阅读
立即打开